- 按相关度排序
- 按时间排序
- 搜全文
- 搜标题
相关结果约4450个
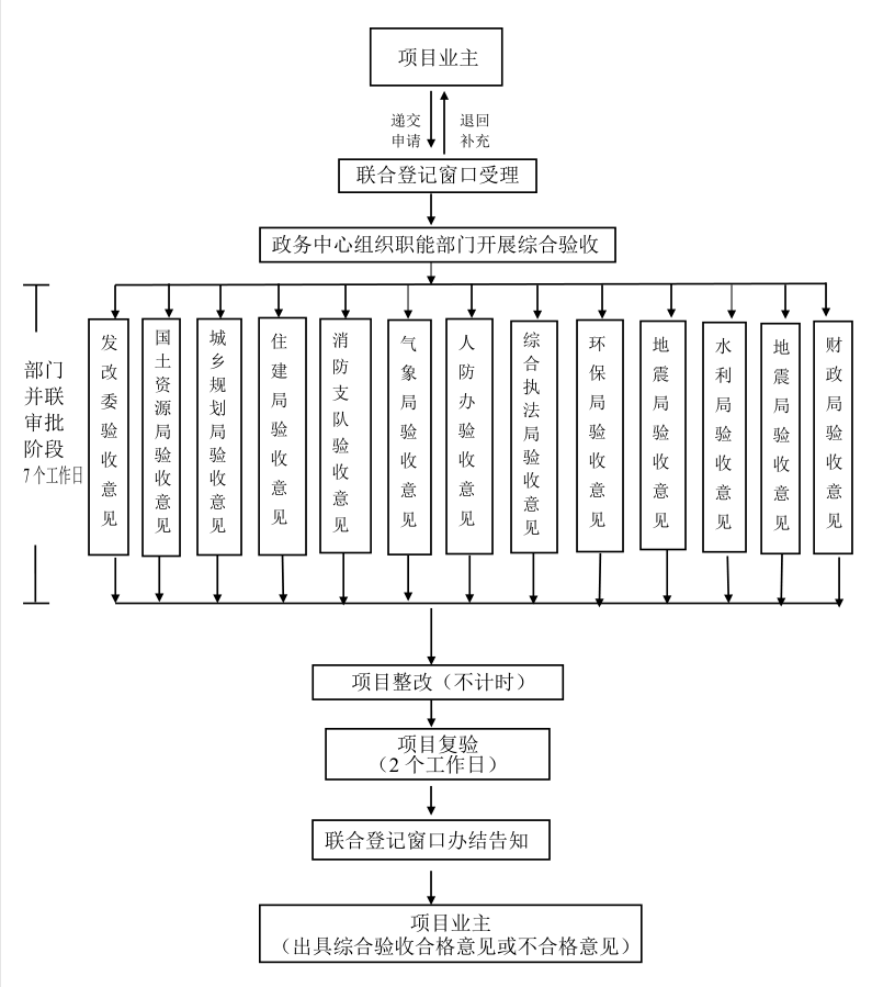
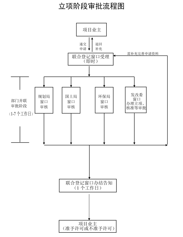
第二章同步审查第四条地籍调查监测机构自行政审批机构推送之日起3个工作日内完成建房选址位置地类分析,出具分类面积表和审查意见,明确注记占用林地、草地情形。第五条规划管理机构自行政审批机构推送之日起3个工作日内完成建房选址位置规划审查,出具规划套合图和规划审查意见;同步完成生态红线、城镇开发边界线审查,...
衡山县人民政府门户网站
发布时间:2025-07-01
衡阳市生态环境局审批环境影响评价文件的建设项目目录
衡山县人民政府门户网站
发布时间:2025-05-07
政策文件及通知
环境保护行政主管部门审批意见山环评[2015]11号衡山县衡岳加油站于衡山县开云镇师古村,项目总投资200万元,占地面积6000平方米,设置4台加油机,根据环境影响登记表的结论及建议,同意项目建设。建设单位要严格执行环保“三同时”制度,按环评要求落实好各项污染物的防治措施,在工程建设和环境管理中着重...
衡山县人民政府门户网站
发布时间:2015-04-21
政策文件及通知
环境保护行政主管部门审批意见山环评[2015]8号衡山县开云加油站位于衡山县开云镇开云南路,项目总投资100万元,占地面积1700平方米,设置4台加油机,根据环境影响登记表的结论及建议,同意项目建设。建设单位要严格执行环保“三同时”制度,按环评要求落实好各项污染物的防治措施,在工程建设和环境管理中着...
衡山县人民政府门户网站
发布时间:2015-04-20
政策文件及通知
环境保护行政主管部门审批意见山环评[2015]15号衡山县店门加油站位于店门镇胜利村,项目总投资200万元,占地面积3000平方米,设置3台加油机,根据环境影响登记表的结论及建议,同意项目建设。建设单位要严格执行环保“三同时”制度,按环评要求落实好各项污染物的防治措施,在工程建设和环境管理中着重做好...
衡山县人民政府门户网站
发布时间:2015-04-24
政策文件及通知
环境保护行政主管部门审批意见山环评[2015]13号衡山县福田加油站位于福田乡泉塘村,项目总投资90万元,占地面积900平方米,设置2台加油机,根据环境影响登记表的结论及建议,同意项目建设。建设单位要严格执行环保“三同时”制度,按环评要求落实好各项污染物的防治措施,在工程建设和环境管理中着重做好如下...
衡山县人民政府门户网站
发布时间:2015-04-02
政策文件及通知
环境保护行政主管部门审批意见山环评[2015]14号衡山县白果加油站位于白果镇桐梓村横村组,项目总投资150万元,占地面积1700平方米,设置3台加油机,根据环境影响登记表的结论及建议,同意项目建设。建设单位要严格执行环保“三同时”制度,按环评要求落实好各项污染物的防治措施,在工程建设和环境管理中着...
衡山县人民政府门户网站
发布时间:2015-04-24
政策文件及通知
环境保护行政主管部门审批意见山环评[2015]9号衡山县中心加油站于衡山县开云镇交通村,项目总投资500万元,占地面积8731平方米,设置4台加油机,根据环境影响登记表的结论及建议,同意项目建设。建设单位要严格执行环保“三同时”制度,按环评要求落实好各项污染物的防治措施,在工程建设和环境管理中着重做...
衡山县人民政府门户网站
发布时间:2015-04-20
政策文件及通知
环境保护行政主管部门审批意见评[2015]3号衡山县农科加油站位于衡山县开云镇衡山大道与白竹路交汇处,项目总投资600万元,占地面积6592.2平方米,年加汽油500吨、柴油300吨,根据环境影响登记表的结论及建议,同意项目建设。建设单位要严格执行环保“三同时”制度,按环评要求落实好各项污染物的防治...
衡山县人民政府门户网站
发布时间:2015-03-09
政策文件及通知
环境保护行政主管部门审批意见山环评[2015]5号衡山县永和加油站位于衡山县永和乡黄州村十组,项目总投资210万元,占地面积2333平方米,设置4台加油机,根据环境影响登记表的结论及建议,同意项目建设。建设单位要严格执行环保“三同时”制度,按环评要求落实好各项污染物的防治措施,在工程建设和环境管理中...
衡山县人民政府门户网站
发布时间:2015-05-27
-
衡山县人民政府
加载中